Horizontal Tabs

Electrical information
Voltage 12
Kw 0.8
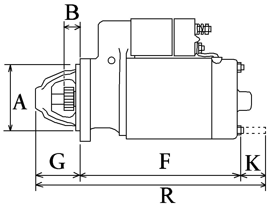
Physical information
H No./teeth 8,9
P Rotation CW
N Gear type DD/GR
A Mount. flange 82.50
I B+ M8
No./mount. holes 2 (0)
B Drive dist. 32.50
E Mount. holes 11.00
E Mount. hole 2 11.00
F Dist./back 169.00
G Dist./front 70.50
J Terminal 15a 6.30
M Mount. bracket No
O Dist. mm 105.00
R Total length mm 240.00
Catalogue information
Drive type Steel
Waterproof No
Oil sealed No
110154 | Starter Toyota 12 Volt - 9 Teeth_CARGO














































































