Horizontal Tabs

Electrical information
Voltage 28
Amp 75
Catalogue information
Pulley w/o
Vac. pump No
Servicing Caterpillar
Remarks Replacing: 25SI. One wire system. B+ 7/16".
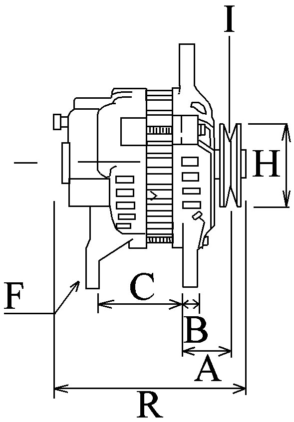
Physical information
B Width/holder arm 14.10
C Mount. bracket dist. 101.50
D Bracket hole 13.10
E Belt. adj. brackethole pos. 60
G Belt. adj. bracket hole 1/2" UNC
J Radius 99.00
J Radius 2 99.00
K B+ 7/16" UNC
N Rotation CW/CCW
O Plug no. 1 PL_NA
R Total length mm 306.00
110591 | Alternator Delco Remy 28 Volt - 75 Amp_CARGO














































































