Horizontal Tabs

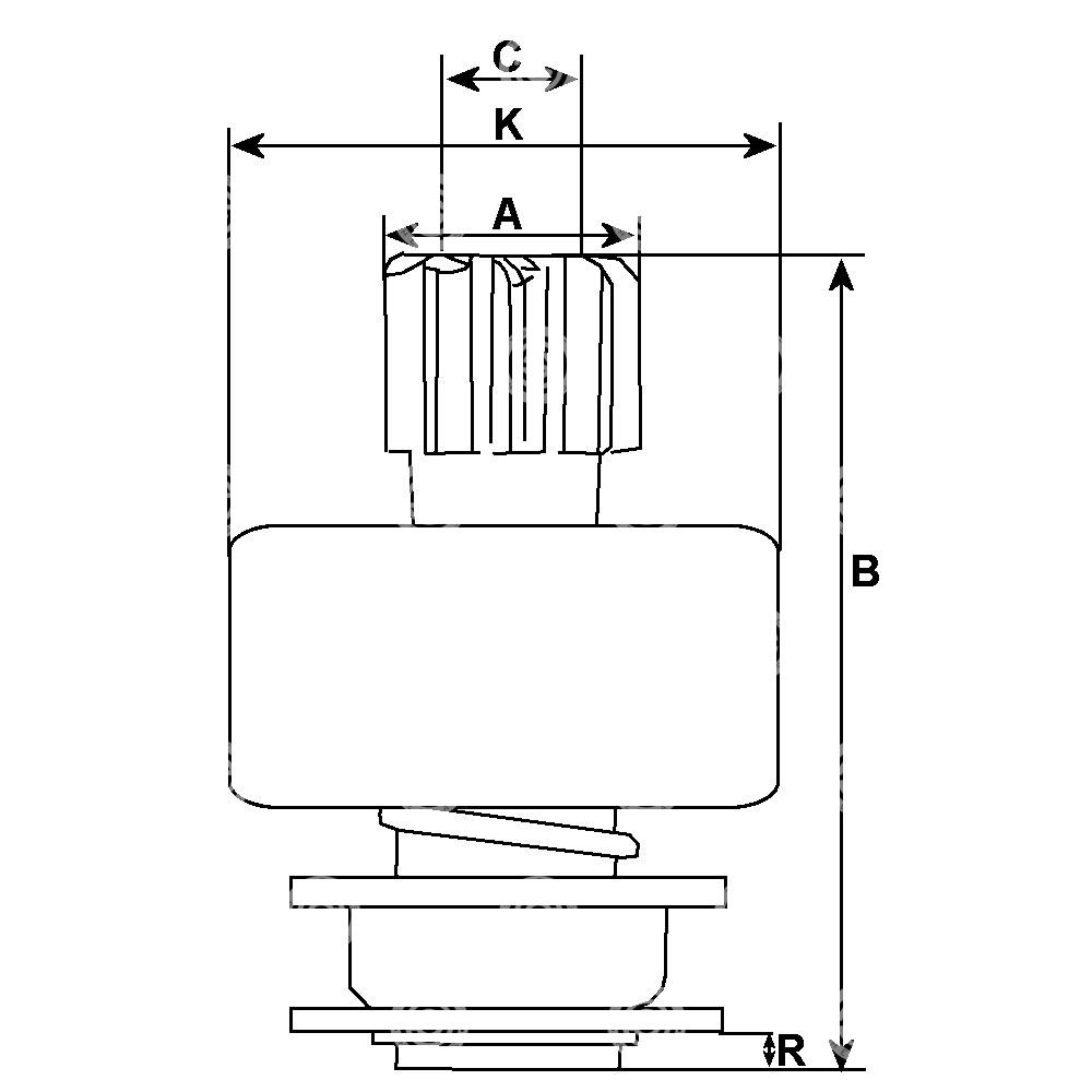
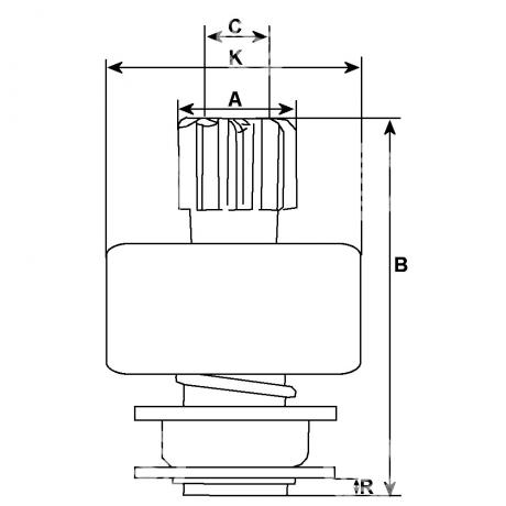
Φυσικές πληροφορίες
A Εξωτερική Διάμετρος mm 34,15
Β Συνολικό μήκος mm 82,20
C Εσωτερική Διάμετρος mm 12,40
Αριθμός Δοντιών 9
Αριθμός Κοπτών 10
K Εξωτερική Διάμετρος/Περίβλημα mm 46,00
Περιστροφή Δεξιόστροφα
138137 | Γρανάζι Μίζας Denso - 9 Δόντια_CARGO






















